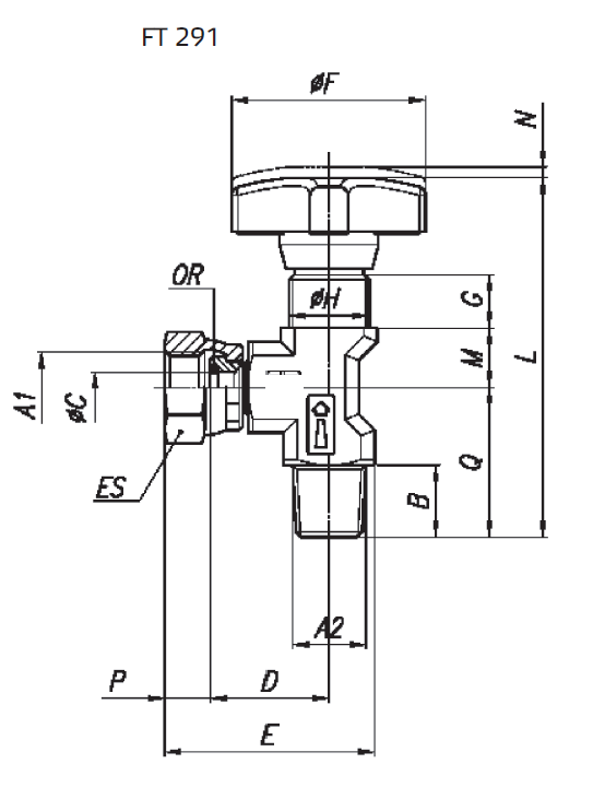
Отсечные клапаны, игольчатого типа используются, как правило, в качестве затворов для портов под манометры с резьбой 1/4” BSP.
[1] Описание
Корпус из стали.
Максимальное рабочее давление: 400 бар.
Нитриловое уплотнительное кольцо.
Политетрафторэтиленовое кольцо для защиты от выталкивания.
[2] Код для заказа
(1) FT29: Отсечной клапан
(2) Ориентация:
0: Порты ¼” BSP, E 61,5 – L 45
1: Порты ¼” BSP, E 30 – L 66
(Технические характеристики и размеры могут быть изменены без предупреждения.)